AX3024 - siłownik AXO 24V do bramy 3m
- Zastosowanie: Do pracy intensywnej
- Intensywność pracy: 30 cykli / h
- Maksymalny ciężar skrzydła: 500 kg
- Maksymalna długość skrzydła: 3 m
- Maksymalna odległość osi zawiasu od krawędzi słupka: 7 cm
- Skok roboczy śruby: 300 mm
- Napięcie zasilania silnika: 24 V DC
- Pobór prądu siłownika (maksymalny): 120 W
- Klasa szczelności: IP44
- Temperatura pracy: -20...+55 °C
- Wymiary: 965 × 100 × 123 mm
- Waga: 6.5 kg
Opis
CAME AX3024 to elektromechaniczny siłownik 24 V DC przeznaczony do automatyzacji bram skrzydłowych o długości do 3 metrów i wadze do 500 kg. Dzięki zasilaniu niskonapięciowemu, może pracować intensywnie, co czyni go odpowiednim zarówno do użytku przydomowego, jak i we wspólnotach mieszkaniowych czy małych obiektach komercyjnych. Współpracuje z centralą sterującą ZLX24SA, systemami bezpieczeństwa i akumulatorem awaryjnym 24 V.
Zasilanie i praca intensywna
Stałe i bezpieczne zasilanie
CAME AX3024 pracuje na napięciu 24 V DC, co zapewnia wysokie bezpieczeństwo i przystosowanie do intensywnej eksploatacji. Maksymalny pobór prądu wynosi do 10 A, a moc silnika to 120 W. Siłownik przystosowany jest do zasilania awaryjnego z akumulatora 24 V, co zapewnia ciągłość działania w przypadku przerwy w dostawie energii. To rozwiązanie idealne dla użytkowników oczekujących niezawodności, także w systemach zewnętrznych.
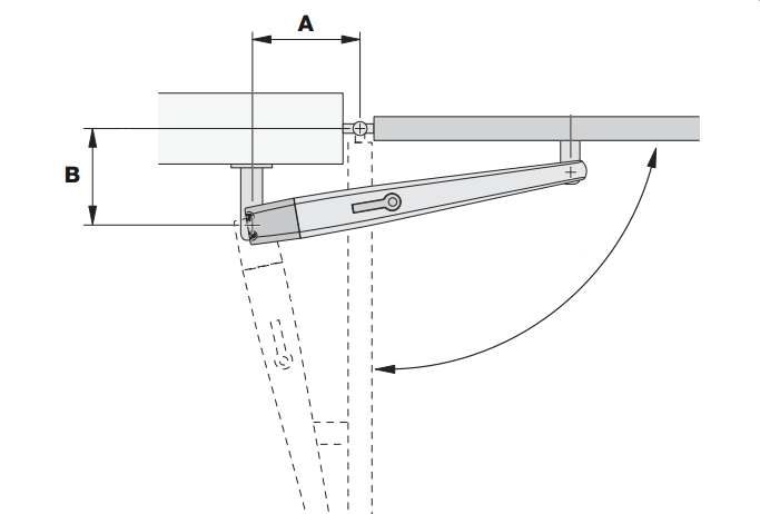
Kąt otwarcia i geometria montażu
Wymiary A i B decydują o kącie otwarcia bramy
![]() |
Zakres otwarcia skrzydła bramy jest bezpośrednio zależny od doboru wymiarów montażowych A i B. Aby uzyskać kąt otwarcia 90°, zalecana suma A + B wynosi około 260 mm (np. A = 130 mm, B = 130 mm). Dla kąta 120° suma ta powinna być nieco mniejsza – około 240 mm (np. A = 140 mm, B = 100 mm). Warto zwrócić uwagę, że przekroczenie optymalnej wartości może ograniczyć ruch skrzydła oraz wpływać na obciążenie siłownika. |
Montaż i konstrukcja
Słupki, mocowanie, gabaryty
Siłownik montuje się na słupkach metalowych, stosując spawane lub przykręcane uchwyty. Całkowita długość siłownika to ok. 965 mm, a maksymalny skok roboczy wynosi 300 mm. Konstrukcja wymaga zapewnienia odpowiedniej przestrzeni roboczej zgodnie z wymiarami montażowymi A i B. Dla skrzydeł o długości powyżej 2,5 m zalecane jest zastosowanie elektrozamka.
Kompatybilność i integracja systemowa
Sterowanie, bezpieczeństwo, rozbudowa
AX3024 współpracuje z centralą sterującą CAME ZLX24SA, która umożliwia pełne programowanie parametrów obu skrzydeł. Obsługuje systemy bezpieczeństwa, takie jak fotokomórki (DIR, DELTA, RIO), listwy krawędziowe oraz sygnalizację świetlną. Dzięki zasilaniu 24 V możliwa jest integracja z systemami awaryjnego zasilania, jak i magistralami komunikacyjnymi BUS. Instalator może łatwo połączyć siłownik z urządzeniami sterującymi (pilot, klucz, czytnik) oraz z automatyką bramową CRP.
- Zastosowanie: Do pracy intensywnej
- Intensywność pracy: 30 cykli / h
- Maksymalny ciężar skrzydła: 500 kg
- Maksymalna długość skrzydła: 3 m
- Maksymalna odległość osi zawiasu od krawędzi słupka: 7 cm
- Skok roboczy śruby: 300 mm
- Napięcie zasilania silnika: 24 V DC
- Pobór prądu siłownika (maksymalny): 120 W
- Klasa szczelności: IP44
- Temperatura pracy: -20...+55 °C
- Wymiary: 965 × 100 × 123 mm
- Waga: 6.5 kg
