AX5024 - siłownik AXO 24V do bramy 5m
- Zastosowanie: Do pracy intensywnej
- Intensywność pracy: 30 cykli / h
- Maksymalny ciężar skrzydła: 400 kg
- Maksymalna długość skrzydła: 5 m
- Maksymalna odległość osi zawiasu od krawędzi słupka: 15 cm
- Skok roboczy śruby: 600 mm
- Siła uciągu: 500 - 4500 N
- Napięcie zasilania silnika: 24 V DC
- Pobór prądu siłownika (maksymalny): 120 W
- Klasa szczelności: IP44
- Temperatura pracy: -20...+55 °C
- Wymiary: 1100 x 100 x 123 mm
Opis
Siłownik CAME AXO AX5024 to elektromechaniczne urządzenie przeznaczone do automatyzacji bram skrzydłowych o długości skrzydła do 5 metrów i wadze do 400 kg. Zasilany napięciem 24 V DC, został zaprojektowany z myślą o intensywnej eksploatacji, zarówno w zastosowaniach prywatnych, jak i przemysłowych.
Konstrukcja i technologia
Solidna obudowa i precyzyjna mechanika
Motoreduktor CAME AXO AX5024 został umieszczony w solidnej obudowie z odlewanego aluminium, co zapewnia trwałość i odporność na warunki atmosferyczne. Urządzenie oferuje regulowany czas otwierania oraz zastosowany enkoder, który umożliwia precyzyjne zarządzanie ruchem i siłą skrzydła. Dzięki temu praca bramy odbywa się płynnie i z zachowaniem wysokiego poziomu bezpieczeństwa.
Zasilanie i praca intensywna
Niskonapięciowy silnik i zasilanie awaryjne
Siłownik AX5024 pracuje w systemie niskonapięciowym 24 V DC, co podnosi bezpieczeństwo użytkowania i pozwala na intensywną eksploatację. Silnik o mocy 120 W pobiera maksymalnie do 10 A. Zasilanie 24 V DC pozwala na podłączenia zasilania awaryjnego z akumulatora 24 V bezpośrednio do centrali.
Kąt otwarcia i geometria montażu
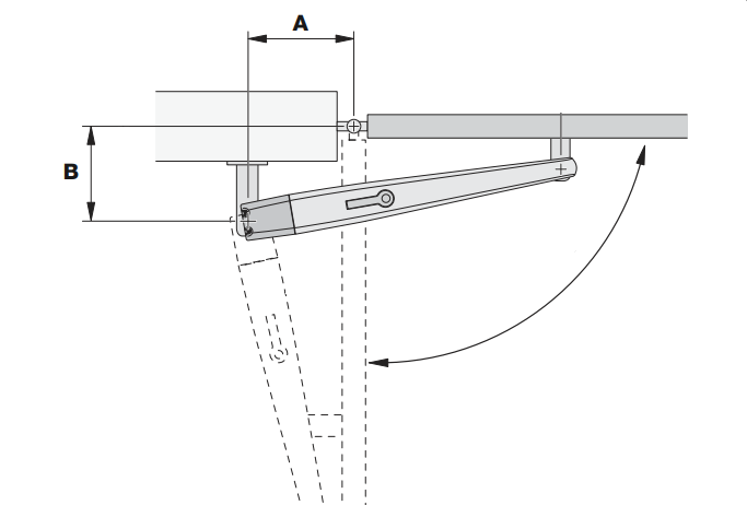
Optymalne ustawienie wymiarów A i B
|
Zakres otwarcia bramy zależy bezpośrednio od prawidłowego doboru wymiarów montażowych A i B. Dla kąta otwarcia 90° zalecana suma A + B wynosi około 420 mm (np. A = 220 mm, B = 200 mm), natomiast dla 120° suma ta powinna wynosić około 440 mm (np. A = 230 mm, B = 220 mm). Przekroczenie optymalnych wartości może ograniczyć ruch skrzydła oraz zwiększyć obciążenie siłownika. Przy skrzydłach powyżej 3 m zaleca się stosowanie elektrozamka. |
![]() |
Bezpieczeństwo i zgodność
Normy europejskie i systemy ochronne
Model AX5024 spełnia normy europejskie EN12445 i EN12453 w zakresie bezpieczeństwa użytkowania bram automatycznych. Technologia EN Tested ogranicza siły uderzenia do wartości zgodnych z przepisami, a współpraca z dodatkowymi urządzeniami – fotokomórkami, listwami krawędziowymi czy sygnalizacją świetlną – pozwala na stworzenie kompleksowego systemu zabezpieczeń.
Kompatybilność i integracja systemowa
Współpraca z centralami i automatyką CAME
Siłownik może współpracować z centralami sterującymi CAME, które umożliwiają programowanie parametrów pracy obu skrzydeł. Dzięki zasilaniu 24 V możliwa jest integracja z systemami awaryjnego zasilania oraz innymi elementami automatyki, takimi jak piloty, czytniki czy systemy BUS.
Zastosowania
Przydomowe i przemysłowe instalacje
CAME AXO AX5024 znajduje zastosowanie w instalacjach przydomowych i przemysłowych, gdzie wymagana jest praca intensywna. Dzięki sile ciągu w zakresie 500–4500 N i maksymalnej obsłudze skrzydeł o wadze do 400 kg i długości do 5 m, siłownik zapewnia niezawodne działanie nawet w przypadku ciężkich i dużych bram.
- Zastosowanie: Do pracy intensywnej
- Intensywność pracy: 30 cykli / h
- Maksymalny ciężar skrzydła: 400 kg
- Maksymalna długość skrzydła: 5 m
- Maksymalna odległość osi zawiasu od krawędzi słupka: 15 cm
- Skok roboczy śruby: 600 mm
- Siła uciągu: 500 - 4500 N
- Napięcie zasilania silnika: 24 V DC
- Pobór prądu siłownika (maksymalny): 120 W
- Klasa szczelności: IP44
- Temperatura pracy: -20...+55 °C
- Wymiary: 1100 x 100 x 123 mm
